Man who died at SunTrust Park was there installing his beer invention
A fast-talking tinkerer and father of four was at SunTrust Park to install his beer tap invention when he died, his family told The Atlanta Journal-Constitution on Wednesday.
Todd Keeling, 48, was found dead by a worker inside a walk-in beer cooler on Tuesday afternoon, said Cobb County police. Investigators said it was too early to determine if there was foul play.
Fran Kuchta, Keeling’s aunt, said police told the family that he was in the cooler and couldn’t get out.
READ | Man charged with murder after body found in trunk near Gwinnett border

Keeling’s body was found about 2:30 p.m. inside a walk-in beer cooler behind a concession area in Section 331, according to a Cobb police incident report. Workers pulled Keeling from the cooler and tried to give him CPR.
Cobb police spokeswoman, Officer Sarah O’Hara said the space where Keeling was found doesn’t go below 40 degrees and is large enough to hold pallets of beer.
Officials with the Cobb medical examiner’s office said they have done an autopsy on Keeling’s body but have no preliminary findings to release.
Investigators are working with a large timeframe to determine when Keeling died because he was expected to be working sometime between late Monday and early Tuesday, O’Hara said.
“The Atlanta Braves are deeply saddened by the passing of Todd Keeling,” the team said in a statement Wednesday. “We admired the passion he had for both his company and his product. Our thoughts and prayers are with his family.”
Like Cobb County News Now on Facebook | Follow us on Twitter

Delaware North Sportservice, which manages food and beverage service at SunTrust Park, also sent a statement.
“He was a kind friend who dedicated his life to elevating the draft beer experience. We salute his passion and dedication to revolutionizing the beverage industry. Our thoughts and prayers are with his family.”
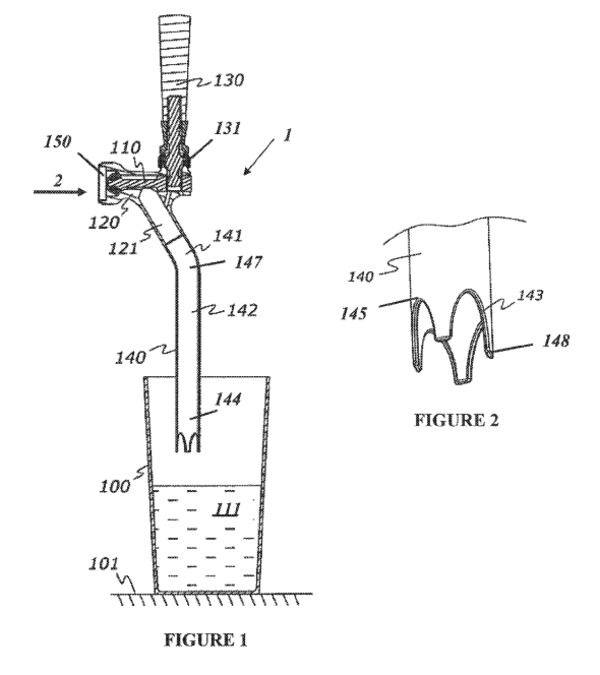
Kuchta said her nephew was excited to learn that another MLB stadium wanted his beer tap technology, Draftwell, which was going to cut down pour times at SunTrust from a 14-second average to five seconds.
Kuchta said he had been working on the invention since he graduated college.
“This is his dream since he was a kid,” Kuchta said.
Federal patent records show he filed an application for his "system for reducing foam at tap" invention in 2014.
His aunt said the beer systems were already at Chicago White Sox’s Guaranteed Rate Field and the Minnesota Twins’ Target Field.
“He worked hard to do this,” she said. “ ... I’m sure things would have gone on further.”
His two sons, both teenagers, were in Atlanta helping him put the system in at SunTrust Park but left a few days ago, she said. Keeling was finishing up the installation.
Kuchta said she and her sister — Keeling’s mother — were watching the 5 o’clock news Tuesday when the mom got the call from Keeling's wife.
His mother screamed and was frantic for information, Kuchta said. The mother wasn’t getting any until she told police, “my son is dead, I need answers.”
She said the family is reeling from losing one of their rocks, a man who would always be in the middle of a gaggle of children.
“He’s a big kid himself,” she said.



